Le 9 avril 2026, l’Office américain des brevets (USPTO) a rendu public un dossier déposé par Tesla, Inc. qui détonne par son absence totale d’algorithmes. Pas de réseaux de neurones, pas de “world models”, et pas la moindre mention d’intelligence artificielle. À la place, le brevet US20260097493A1 décrit, avec une précision chirurgicale, un genou. Déposé le jour même du Tesla AI Day 2022, ce document lève le voile sur la mécanique bio-inspirée du robot humanoïde Optimus. Quelques jours seulement avant cette publication, Elon Musk affirmait sur X : “Optimus 3 déambule déjà, mais il nécessite encore quelques finitions.” Il ne fait presque aucun doute que ce genou est l’une de ces pièces maîtresses.
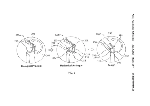
Le schéma le plus fascinant du brevet n’est pas un plan CAO complexe, mais une planche didactique en trois étapes. Elle débute par un diagramme du genou humain légendé “Principe Biologique”, évolue vers une structure filaire baptisée “Analogue Mécanique”, pour aboutir au “Design” final. Le document établit un parallèle explicite entre les quadriceps, la rotule et les ligaments, et un système de liaison à quatre barres. Il ne s’agit pas d’une simple pièce de robotique, mais d’une traduction mécanique directe de millions d’années d’évolution. Cette conception permet d’atteindre une rotation de 150 degrés, équivalente à celle de l’homme, à partir d’un unique actionneur linéaire de petite taille.

Le mécanisme, une variante inversée de la liaison de Hoecken, est une réponse élégante à un casse-tête d’ingénierie. Si le genou humain est si efficace, c’est parce qu’il ne pivote pas autour d’un point fixe ; le bras de levier s’adapte au mouvement, maximisant le couple là où il est le plus nécessaire. Le système à quatre barres de Tesla reproduit cet avantage mécanique variable, permettant à un petit moteur de générer un mouvement à la fois puissant et d’une grande amplitude. Le brevet détaille comment des simulations ont été utilisées pour déterminer la longueur optimale de chaque segment afin de minimiser la consommation d’énergie tout en respectant les objectifs de couple et de vitesse.
Pourquoi est-ce crucial ?
Ce genou est le sésame qui doit rendre Optimus économiquement viable. En utilisant un seul actionneur compact au lieu d’un assemblage complexe et énergivore, Tesla réduit drastiquement le coût, le poids et la complexité de chaque jambe. C’est l’élément clé pour atteindre le prix cible ambitieux fixé par Elon Musk, entre 18 000 € et 28 000 € par unité. Ces économies d’échelle sont indispensables pour la production massive prévue d’un million d’unités par an à l’usine de Fremont, qui libère déjà de l’espace en mettant fin à la production des Model S et Model X.
Si le design est brillant, sa géométrie n’est pas pour autant une chasse gardée de Tesla. Des analystes ont remarqué que l’humanoïde IRON de nouvelle génération conçu par Xpeng semble utiliser une cinématique étrangement similaire. Le design de Tesla étant public depuis l’AI Day 2022, il semble que l’industrie converge naturellement vers les solutions les plus efficientes. L’évolution a mis des millions d’années à perfectionner cette géométrie ; Tesla tente aujourd’hui de l’égaler, tout en respectant un budget de production.

